Viper Опубликовано 26 декабря, 2023 Поделиться Опубликовано 26 декабря, 2023 (изменено) Штош! Традиционная новогодняя рубрика уже который год! Про новые КУ пока не будем писать (уже писали) сегодня у нас первая новинка обещанных вебером обновлений...... (тоталли ребилд продакт лайн) ВСТРЕЧАЕМ! Weber Searwood 600 XL 36" Wood Pellet Grill (будет тоже 2 модели 600 и 600XL) Weber Searwood 600 XL 36" Wood Pellet Grill #1500121 • Dual grilling space, main cooking area = 972 sq in • Bottom grate 630 sq in, Top grate 342 sq in • Smoke and Sear like a professional with a broad 180F - 600F temperature range • SmokeBoost. setting (180F-200F) brings effortless smoky flavor to your low ‘n slow cooks • Achieve the perfect sear with a 600F max temp across the entire cook surface and Weber’s proprietary DirectFlameTM grilling system • Modern technology featuring a large Digital LCD Controller improves accuracy and convenience to all of your cooks • Weber’s advanced Rapid React PIDTM heats the grill quickly at start-up and recovers quickly after lid openings • WEBER CONNECT smart grilling technology: • Step-by-step grilling assistance • Flip & serve notifications • Remote Grill Control and Monitoring • Remote Grill Shut Down • Diagnostic Alerts • Plated steel cooking grates • Porcelain-enameled lid • Heavy-duty steel cart frame • Includes one meat probe, two probe capacity • Stainless steel FLAVORIZER bars • High capacity hopper • Low Fuel Sensor • Two large wheels The Searwood retails for $1,097.62, while the Searwood XL is $1,404.62 Изменено 26 декабря, 2023 пользователем Viper 3 Ссылка на сообщение Поделиться на другие сайты Поделиться
Cat Опубликовано 26 декабря, 2023 Поделиться Опубликовано 26 декабря, 2023 А устройство? Больше инфы надо Ссылка на сообщение Поделиться на другие сайты Поделиться
Viper Опубликовано 26 декабря, 2023 Поделиться Опубликовано 26 декабря, 2023 Weber Searwood 600 24" Wood Pellet Grill #1500120 Ссылка на сообщение Поделиться на другие сайты Поделиться
Человек Опубликовано 27 декабря, 2023 Поделиться Опубликовано 27 декабря, 2023 Я даже боюсь представить сколько он будет стоить )))) Ссылка на сообщение Поделиться на другие сайты Поделиться
Viper Опубликовано 28 декабря, 2023 Поделиться Опубликовано 28 декабря, 2023 (изменено) Что увидим на презентации 9 января 2024 года? Новый роадмап..... 6 девайсов! Делаем ставки! Изменено 28 декабря, 2023 пользователем Viper Ссылка на сообщение Поделиться на другие сайты Поделиться
Viper Опубликовано 28 декабря, 2023 Поделиться Опубликовано 28 декабря, 2023 Новый Ку и новый пелетник мы уже видели..... форумы пишут про новый газовый саммит..... что еще? Ссылка на сообщение Поделиться на другие сайты Поделиться
Serg Kn Опубликовано 28 декабря, 2023 Поделиться Опубликовано 28 декабря, 2023 22 минуты назад, Viper сказал: Новый Ку и новый пелетник мы уже видели..... форумы пишут про новый газовый саммит..... что еще? На Саммит бы глянуть. Очень интересно, чего туда запихнут. Ссылка на сообщение Поделиться на другие сайты Поделиться
Ivo70 Опубликовано 28 декабря, 2023 Поделиться Опубликовано 28 декабря, 2023 Мне кажется классический 57 в сторону SnS что-то приделают. Ссылка на сообщение Поделиться на другие сайты Поделиться
Viper Опубликовано 28 декабря, 2023 Поделиться Опубликовано 28 декабря, 2023 врядли.... (ибо снс тогда просто сдохнет)...... но перформеры - давно пора обновить.... как минимум коннект в делюкс прикрутить ))) Ссылка на сообщение Поделиться на другие сайты Поделиться
Дядя Боб Опубликовано 28 декабря, 2023 Поделиться Опубликовано 28 декабря, 2023 Саммит газовый стопудова обновят 🙂 может угольный тоже Napoleon TravelQ Pro285X Ссылка на сообщение Поделиться на другие сайты Поделиться
Viper Опубликовано 28 декабря, 2023 Поделиться Опубликовано 28 декабря, 2023 Ну только если переосмыслят не взлетевший евро-премиум (5770)….. сделают делюкс или платинум…. Младшие трогать не будут… Ссылка на сообщение Поделиться на другие сайты Поделиться
Cat Опубликовано 29 декабря, 2023 Поделиться Опубликовано 29 декабря, 2023 22 часа назад, Viper сказал: Новый Ку и новый пелетник мы уже видели..... форумы пишут про новый газовый саммит..... что еще? Давно пора Ссылка на сообщение Поделиться на другие сайты Поделиться
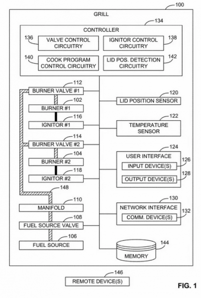
Viper Опубликовано 29 декабря, 2023 Поделиться Опубликовано 29 декабря, 2023 вообще, я уже писал в какой-то теме...... вебер год назад патентовал управляемые газовые краны..... поэтому есть вероятность что саммиты могут быть "смарт" с контроллером от пелетника..... Ссылка на сообщение Поделиться на другие сайты Поделиться
Cat Опубликовано 29 декабря, 2023 Поделиться Опубликовано 29 декабря, 2023 12 минут назад, Viper сказал: вообще, я уже писал в какой-то теме...... вебер год назад патентовал управляемые газовые краны..... поэтому есть вероятность что саммиты могут быть "смарт" с контроллером от пелетника..... Саммиту бы внутрянку перетряхнуть, горелочки другие, слив по центру, горелку на стенку нормальную, подсветку внутри и так далее Ссылка на сообщение Поделиться на другие сайты Поделиться
Viper Опубликовано 29 декабря, 2023 Поделиться Опубликовано 29 декабря, 2023 (изменено) все это конечно так, но знаешь от чего западные форумы возбудились больше всего у сирвуда? Flip & serve notifications - прям кипятком писают...... америкосы херли..... поэтому - смарт вещи будут и дальше двигать темы Изменено 29 декабря, 2023 пользователем Viper Ссылка на сообщение Поделиться на другие сайты Поделиться
Viper Опубликовано 31 декабря, 2023 Поделиться Опубликовано 31 декабря, 2023 (изменено) Weber Searwood с открытой крышкой Изменено 31 декабря, 2023 пользователем Viper 2 Ссылка на сообщение Поделиться на другие сайты Поделиться
Cat Опубликовано 31 декабря, 2023 Поделиться Опубликовано 31 декабря, 2023 1 час назад, Viper сказал: Weber Searwood с открытой крышкой А он хорош и под вертел и удобство погрузки разгрузки Ссылка на сообщение Поделиться на другие сайты Поделиться
Viper Опубликовано 2 января, 2024 Поделиться Опубликовано 2 января, 2024 Предположительно новый саммит и его система автоматического контроля....... 1 Ссылка на сообщение Поделиться на другие сайты Поделиться
Viper Опубликовано 8 января, 2024 Поделиться Опубликовано 8 января, 2024 (изменено) продвинутые версии пока не вышли, но вышла (завтра презентуется) обновленная относительно стандартная модель ))) Weber Summit FS38 S 5 Burner Liquid Propane Grill Stainless Steel 9mm Stainless steel cooking grates Stainless steel flavorizer bars Turn to ignite electronic ignition system Top-down infrared broiler caramelizes steaks edge-to-edge WEBER CRAFTED ready, frame kit and cooking grates 5 stainless steel PureBlu burners Soft-Close cabinet doors Premium metal knobs with backlit lighting NIGHTVISION lighting, illuminates grilling area when lid is lifted LED fuel gauge clearly displays fuel level Изменено 8 января, 2024 пользователем Viper 2 Ссылка на сообщение Поделиться на другие сайты Поделиться
Дядя Боб Опубликовано 8 января, 2024 Поделиться Опубликовано 8 января, 2024 Viper название кончено - язык сломаешь!)) Napoleon TravelQ Pro285X Ссылка на сообщение Поделиться на другие сайты Поделиться
Cat Опубликовано 8 января, 2024 Поделиться Опубликовано 8 января, 2024 А что тут нового? Типичный старый Гена в нервже , но с очень высокой крышкой вообще не впечатлил и не то что нет желания купить, а даже смотреть на него не хочется, так как воздушность дизайна низа от грузности верха просто создают диссонанс. А фото внутри есть? Лоток, горелки, задняя стенка и так далее Ссылка на сообщение Поделиться на другие сайты Поделиться
Алекcандр Опубликовано 8 января, 2024 Поделиться Опубликовано 8 января, 2024 5 часов назад, Viper сказал: продвинутые версии пока не вышли, но вышла (завтра презентуется) обновленная относительно стандартная модель ))) Weber Summit FS38 S 5 Burner Liquid Propane Grill Stainless Steel 9mm Stainless steel cooking grates Stainless steel flavorizer bars Turn to ignite electronic ignition system Top-down infrared broiler caramelizes steaks edge-to-edge WEBER CRAFTED ready, frame kit and cooking grates 5 stainless steel PureBlu burners Soft-Close cabinet doors Premium metal knobs with backlit lighting NIGHTVISION lighting, illuminates grilling area when lid is lifted LED fuel gauge clearly displays fuel level Ждать остановилось не долго, но по моему это фейк, не верю что ручки будут такие… Ссылка на сообщение Поделиться на другие сайты Поделиться
Viper Опубликовано 9 января, 2024 Поделиться Опубликовано 9 января, 2024 "у волшебника сулеймана все по честному без обмана" (С) https://www.weber.com/US/en/gas/summit/ но лучше сразу смотреть на чудо планчи...... особенно на портативный тревеллер-планчу 2 Ссылка на сообщение Поделиться на другие сайты Поделиться
Viper Опубликовано 9 января, 2024 Поделиться Опубликовано 9 января, 2024 16 часов назад, Алекcандр сказал: не верю что ручки будут такие… если посмотреть на новые акксы "weber works" - эти ручки-рейлинги теперь будут везде...... и всякой навески для них типа подстаканников и всякой хрени "за дорого" веберы еще настрогают https://www.weber.com/US/en/griddle/weber-works/weber-works-bottle-holder/3400104.html Ссылка на сообщение Поделиться на другие сайты Поделиться
Viper Опубликовано 9 января, 2024 Поделиться Опубликовано 9 января, 2024 INTRODUCING THE NEW SUMMIT® SMART GAS GRILL вот и тот самый смарт 1 1 Ссылка на сообщение Поделиться на другие сайты Поделиться
Рекомендуемые сообщения
Для публикации сообщений создайте учётную запись или авторизуйтесь
Вы должны быть пользователем, чтобы оставить комментарий
Создать учетную запись
Зарегистрируйте новую учётную запись в нашем сообществе. Это очень просто!
Регистрация нового пользователяВойти
Уже есть аккаунт? Войти в систему.
Войти